| 索 引 号: | 013101089/2025-38274 | 主题分类: | 旅游、文化、广播、新闻出版 |
| 组配分类: | 公共文化 | 体裁分类: | 其他 |
| 发布机构: | 火博体育 文化和旅游局 | 生成日期: | 2025-06-06 |
| 生效日期: | 废止日期: | ||
| 信息名称: | 2024年火博体育 体育场地统计调查数据 | ||
| 文 号: | 关 键 词: | 场地面积;体育健身场地;羽毛球场地;健身步道 | |
| 内容概览: | |||
| 在线链接地址: | |||
| 文件下载: | |||
2024年火博体育 体育场地统计调查数据
根据《体育总局办公厅关于开展2024年度体育场地统计调查工作的通知》(体经字〔2024〕478号)文件精神,按照国家统计局批准的《全国体育场地统计调查制度》(国统制〔2023〕131号)要求,火博体育 文化和旅游局以2024年12月31日为标准时点,组织开展体育场地统计调查工作。现将主要情况公布如下:
一、总体情况
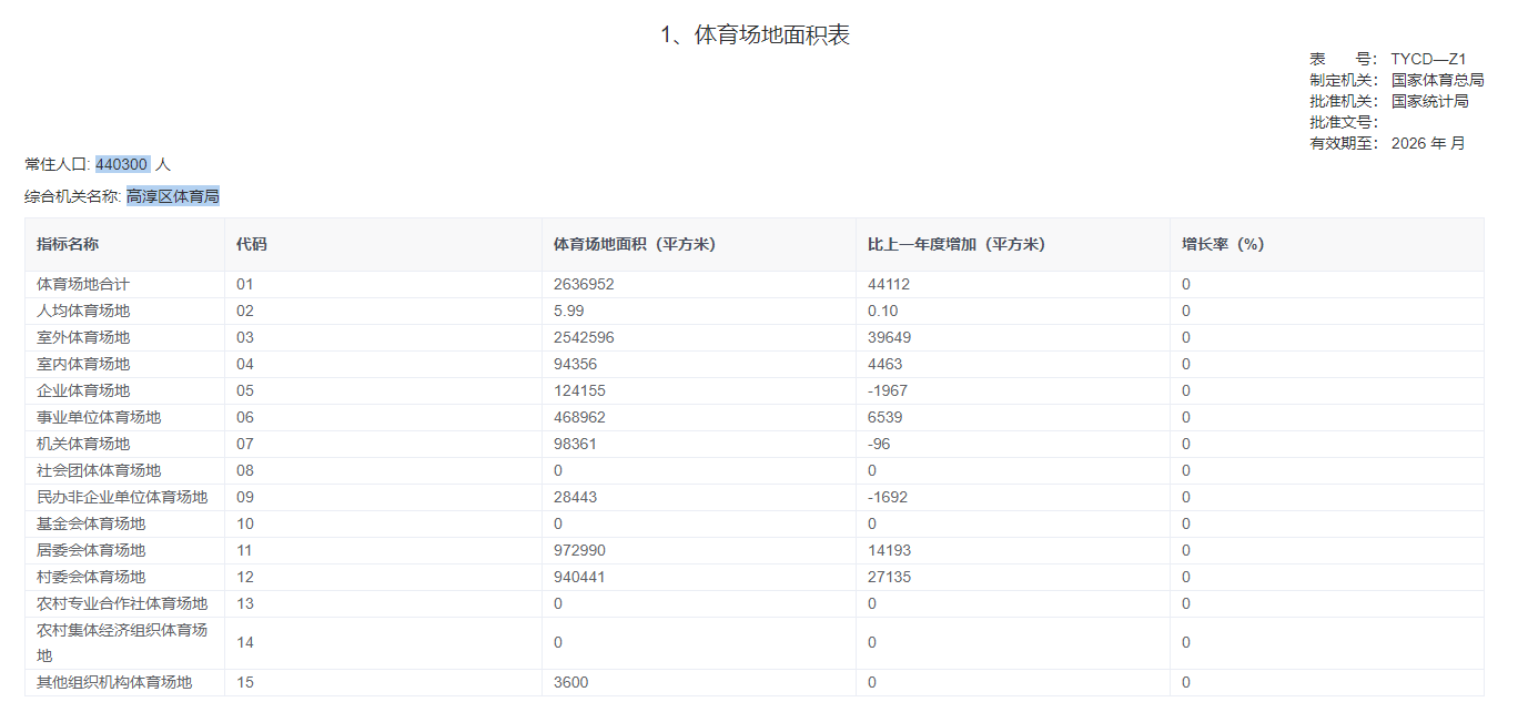
截至2024年底,全区体育场地2728个,体育场地面积263.695万平方米,人均体育场地面积5.99平方米。

二、基础大项情况(系统显示)
全区田径场地65片(个),游泳场地10片(个),场地面积约45.56万平方米。
全区球类运动场地:足球场地74片(个),篮球场地386片(个),乒乓球场地453片(个),羽毛球场地26片(个),场地面积合计约45.75万平方米。
全区体育健身场地:全民健身路径1111个;健身房91个;健身步道298个,共计586.34公里。



